Konštrukcie s pasívnou bezpečnosťou
Konštrucie s pasívnou bezpečnosťou - KPB
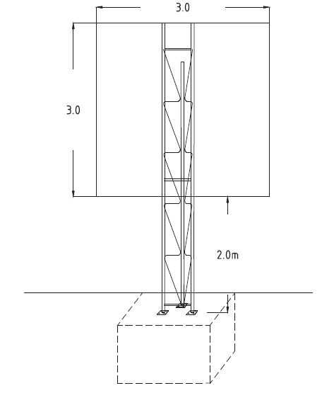
Cerifikované na základe úspešne vykonanej nárazovej skúšky pre rýchlosť 100km/h bez pohltenia energie vozidla pri náraze
KPB je v súlade s TP 074 - Nosné konštrukcie s pasívnou bezpečnosťou pre vybavenie pozemných komunikácií a s STN EN 12767- Pasívna bezpečnosť nosných konštrukcií vybavenia pozemných komunikácií.
vic informácii TU
S výberom presného typu konštrukcie Vám pomôžeme pričom je potrebné poznať rozmery značky, sklon svahu cestnej priekopy a veternú oblasť. V prípade objednávky, na základe zrealizovanej liadky miesta osadenia vypracujeme výrobno-technickú dokumentáciu.




Cerifikované na základe úspešne vykonanej nárazovej skúšky pre rýchlosť 100km/h bez pohltenia energie vozidla pri náraze
KPB je v súlade s TP 074 - Nosné konštrukcie s pasívnou bezpečnosťou pre vybavenie pozemných komunikácií a s STN EN 12767- Pasívna bezpečnosť nosných konštrukcií vybavenia pozemných komunikácií.
vic informácii TU
S výberom presného typu konštrukcie Vám pomôžeme pričom je potrebné poznať rozmery značky, sklon svahu cestnej priekopy a veternú oblasť. V prípade objednávky, na základe zrealizovanej liadky miesta osadenia vypracujeme výrobno-technickú dokumentáciu.










